光联新能源
0577-61888850
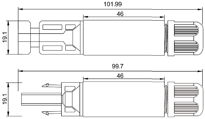
MC4.0光伏带保险丝连接器


浙江光联新能源科技有限公司
ZHEJIANG GUANGLIAN NEW ENERGY TECHNOLOGY CO., LTD
电话:0577-61888850

邮箱:rorunenergy@hotmail.com

网址:www.rorun.cn

地址:浙江省乐清市柳市镇新光工业区胜利路201号